Tascam DA-45HR

|
Die ersten ausgelieferten Exemplare des DAT-Recorders Tascam DA-45HR sorgten für helle Aufregung in den Studios, denn der Lüfter war zu laut. Und auch beim Live-Recording ist es ärgerlich, wenn der Dynamikumfang und Rauschabstand des teuren Mikrofonvorverstärkers gar nicht zur Geltung kommt, weil das Lüftergeräusch mit aufgenommen wird. Als erste Abhilfe habe ich einen Schalter eingebaut, der den Lüfter in kritischen Momenten einfach abschaltet. Im Inneren war kein Bauteil zu finden, das wirklich große Hitze erzeugt, und das Netzteil scheint ausreichend durch Konvektion gekühlt zu werden.
Zum Glück gibt es inzwischen eine herstellerseitige Lösung. Tascam hat vorbildlich auf die Schelte der Anwender reagiert, und es werden nur noch Geräte mit leisem Lüfter ausgeliefert. Ein Hörtest in meinem Studio bewies: Die Senkelmaschine ist lauter! Die Entwickler haben ganze Arbeit geleistet: Ein Leitblech lenkt den Luftstrom jetzt um 90 Grad um, wodurch das Strömungsgeräusch reduziert wird. Zur Unterdrückung von Vibrationen ist der Lüfter schwingend in Gummielementen aufgehängt, und mit Hilfe eines Serienwiderstands wird auch die Drehzahl reduziert. Nun hilft Euch das natürlich wenig, wenn Ihr Euren DA-45HR schon sehr früh gekauft und daher noch einen mit lautem Lüfter habt. Auch Gebrauchtkäufer könnten eines der ersten Geräte erwischen. Aber die Lüftermodifikation gibt's bei Tascam auch einzeln zum Nachrüsten! Bestellt sie einfach bei Eurem Händler, und der baut sie dann ein. Wer über genug Erfahrung verfügt, kann den Einbau natürlich auch selbst vornehmen. Gerät ausschalten, Netzstecker ziehen (!), Gehäuse aufschrauben, dann seht Ihr den Lüfter auf der rechten Seite.
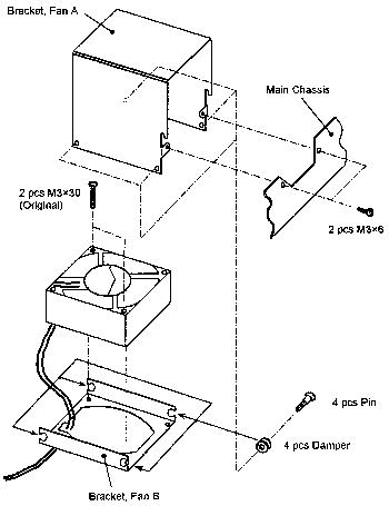
Nun wird eines der Kabel zum Lüfter aufgetrennt, um den mitgelieferten 33-Ohm-Widerstand einzubauen. Profis setzen ihn übrigens in die Minusleitung (schwarz), denn wenn's dort mal einen Kurzschluß geben sollte, passiert nichts - außer, daß der Lüfter wieder schneller läuft. Trotzdem sollte man den in das Kabel eingelöteten Widerstand mit einem Stück Schrumpfschlauch isolieren!
Und nun geht's an die anderen Bleche und Schrauben, den genauen Zusammenbau zeigt folgende Skizze:
Denkt bitte daran: Der Einbau ist zwar einfach, aber wer Probleme hat, beim Lötkolben das heiße vom kalten Ende zu unterscheiden, konsultiert lieber die Werstatt des Händlers. Selbstverständlich sind alle Angaben ohne Gewähr, und Haftung für verbrannte Finger oder zerstörte Recorder übernehme ich natürlich auch nicht. Beim Selbermachen erlischt außerdem der Garantie-Anspruch. |